Tổng quan về van một chiều inox
Van một chiều inox đúng như tên gọi của nó van được làm bằng inox 304 cho độ bền và tuổi thọ cực cao, van được ứng dụng trong các môi trường có tính khắc khiệt như hóa chất, chống được sự ăn mòn cao
Van một chiều là dạng van chỉ để lưu chất chảy qua một chiều và ngăn không cho lưu chất quay ngược trở lại, được dùng phổ biến trong các hệ thống ống cống xí nghiệp, hệ thống lọc, hệ thống trộn…vv

Van một chiều bằng inox
Thông số kỹ thuật của van một chiều inox:
- Chất liệu; Inox 304
- Kích thước: DN15 – DN500
- Áp lực: PN10 – PN25
- Môi trường: hóa chất, nước , hơi, khí..
- Nhiệt độ làm việc: -5 – 180 độ C
- Xuất xứ: Hàn Quốc
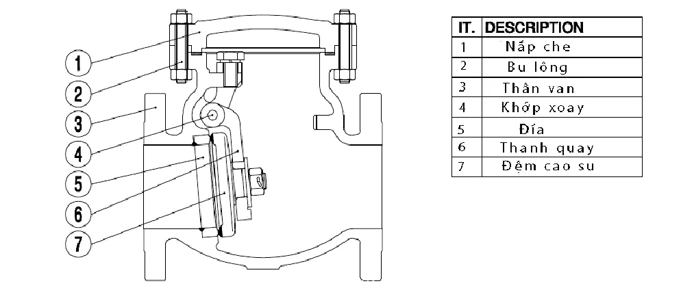
I.Cấu tạo chung của van một chiều inox
Các van một chiều được thường được đảm bảo 4 bộ phận chính sau:
- Thân van: Làm từ inox 304 làm việc trong môi trường khắc nghiệt như hóa chất, ăn mòn ..
- Lá van: Được làm từ đồng, thép k gỉ..
- Nắp van: Làm từ đồng, có thể tháo rời
- Gioăng làm kín: Làm từ cao su EPDM giúp làm kín và giảm âm
- Trục van: Làm từ đồng, thép k gỉ là nơi gắn, giữ lá van

Cấu tạo van một chiều inox
>>>Xem thêm: Van một chiều lá lật
II. Các loại van một chiều
Hiện nay Tuấn Hưng phát cung cấp chính 2 loại van 1 chiều inox thông dụng nhất
1.Van một chiều lá lật

Van một chiều inox lá lật
Thông số kỹ thuật:
- Chất liệu: inox 304
- Tiêu chuẩn: PN16
- Kích cỡ: DN50 – DN500
- Kiểu lắp: Mặt bích
- Nhiệt độ:-5 – 200ºC
- Xuất xứ: Hàn quốc
2.Van một chiều cánh bướm

Van một chiều inox cánh bướm
Thông số kỹ thuật:
- Kích thước van: DN50 – DN1200.
- Thân van: Inox201, 304, 316
- Cánh van: Inox
- Lò xo, chốt, vòng đệm: Thép không gỉ.
- Sơn phủ: Epoxy dày 250 Micron.
- ÁP lực làm việc:P16,P25
>>>>Sản phẩm liên quan: Van một chiều cánh bướm
III.Đánh giá chung của van một chiều inox
- Van có độ bền và tuổi thọ cao
- Đa dạng mẫu mã chất liệu nên được ứng dụng rộng rãi
- Hoạt động ổn định, ít hỏng hóc
- Giá thành rẻ, lắp đặt dễ dàng
IV.Mua van một chiều inox ở đâu
CÔNG TY TNHH THƯƠNG MẠI TUẤN HƯNG PHÁT
VPGD: Số 25 Liền kề 13 khu đô thị Xa La, Hà Đông, Hà Nội
Hotline: 0967.249.266
Email: Son@tuanhungphat.vn
Hoặc quý khách có thể xem trực tiếp kho hàng của chúng tôi theo địa chỉ: Ngã 3 cây xăng Tam Hiệp – Xã Đại Áng – Thanh Trì – Hà nội.
