Tổng quan về van một chiều
Van một chiều tên hay đầy đủ là van nước một chiều đây là một thiết bị được lắp đặt vào ống cống để dẫn lưu chất đi theo 1 chiều nhất định và ngăn không cho dòng chảy ngược hay rò rỉ, noài ra van còn có thể ngăn ngứa sự mất mát chất lỏng, khí, khi có sự cố rò rỉ, hỏng hóc ống dẫn.
Thông số kỹ thuật:
- Kích thước: DN15 – DN400
- Chất liệu: Thép, gang, inox, nhựa
- Kết nối: Lắp bích, lắp ren
- Áp lực làm việc: PN10, PN16, PN20
- Tiêu chuẩn kết nối: JIS 10k, JIS20k, BS, PVC, UPVC

Van một chiều
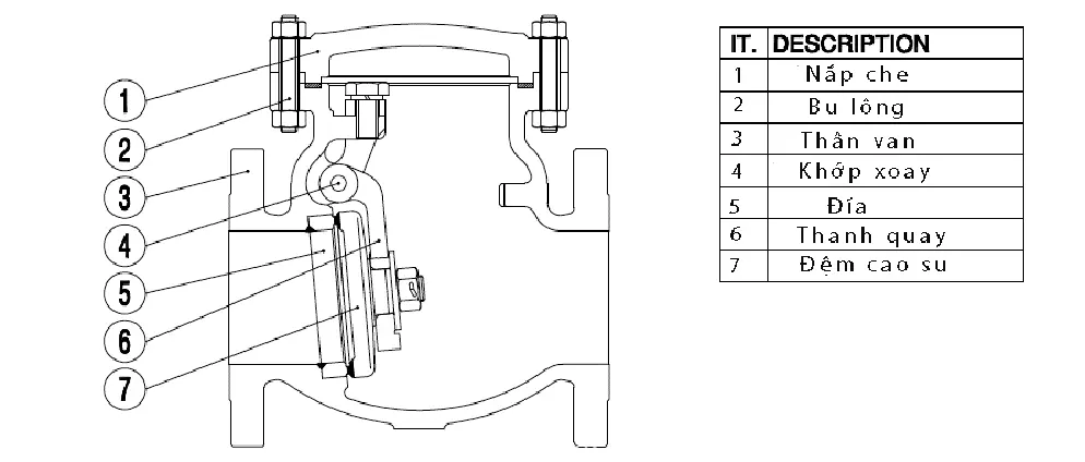
Cấu tạo của van một chiều
Van nước một chiều có cấu tạo chính từ các bộ phận sau:
- Thân van: Được làm từ inox, đồng, gang, thép
- Chốt định vị hay chốt bản lề: Thường được làm từ thep không gỉ
- Nắp đậy: Làm từ gang, inox, theo k gỉ
- Đĩa van: Là bộ phận đóng/mở chính
- Vòng đệm: Làm kín, giảm độ ồn khi làm việc được làm từ cao su
- Chốt đĩa: Được làm bằng thép k gỉ

Cấu tạo của van nước một chiều
Nguyên lý hoạt động của van một chiều
- Không như các dong van khác, nhờ sức,tín hiệu của con người để hoạt động, van một chiều vận hành bằng tác động của lưu chất đi qua van
- Khi tác động dòng lưu chất , áp suất dòng chảy đĩa van bị đẩy khỏi ví trị lên trên => dòng lưu chất chảy qua => van mở
- Khi không có dòng lưu chất chảy qua, tác dụng của trọng lượng của đĩa van và lực đàn hồi lò xo giúp cho van trở về vị trí ban đầu => van đóng do đó ngăn các dòng chảy ngược lại

Nguyên lý hoạt động của van nước 1 chiều
>>>>>Sản phẩm liên quan: Van một chiều lá lật
Ứng dụng thực tế của van một chiều
- Van thường được sử dụng trong các hệ thống trộn, được lắp đặt riêng biệt để ngăn các lưu chất không bị lẫn lộn
- Cũng giống như các van khác van được ứng dụng nhiều ở các lĩnh vực như: Chất lỏng, khí nén, hơi nước, nước ngưng, bùn
- Các hệ thống HVAC, trạm lửa, máy hút chân không, dòng ngưng tụ, bơm cấp hóa chất…

Các loại van một chiều hiện nay
Hiện nay Tuấn Hưng phát đang cung cấp các loại van 1 chiều được nhập khẩu từ Hàn Quốc, Đài Loan… Đầy đủ giấy tờ pháp lý kèm theo sản phẩm. Các loại van hiện nay chúng tôi cung cấp là :
- Van nước 1 chiều cửa lật
- Van một chiều cánh bướm
- Van nước 1 chiều lò xo
- Van nước 1 chiều cối
- Van nước 1 chiều lá lật
Đánh giá chung về van 1 chiều
Ưu điểm:
- Van đóng mở không cần lực bên ngoài
- Bảo vệ các lưu chất không bị quay ngược lại rò rỉ
- Chi phí bảo dưỡng, sửa chữa thấp
- Van ngăn chặn búa nước hiệu quả
- Linh hoạt trong các lưu dòng điều kiện khác nhau
Nhược điểm:
- Khó xác định đóng/mở do tất cả các bộ phận đều được làm kín
- Dễ bị kẹt, hở nếu dính chất rắn ở gần phần đĩa van hoặc do tích tụ lâu ngày

Van một chiều tại Tuấn Hưng Phát
Mua van một chiều ở đâu
- Công ty Tuấn Hưng Phát là đơn vị cung cấp đầy đủ các dòng van công nghiệp từ khắp Bắc – Trung – Nam. Được nhập khẩu chính hãng 100% từ các nước như Hàn Quốc, Trung Quốc, Đài Loan, Malaysia
- Với hơn 20 năm kinh nghiệm, chúng tôi đang có một đội ngũ kỹ thuật viên chuyên sâu sẵn sàng tư vấn và hỗ trợ cho quý khách một cách tận tình nhất
- Chế độ bảo hành 12 tháng, 1 đổi 1 nếu có lỗi của nhà sản xuất, Giấy tờ COCQ, Catologue đầy đủ cho quý khách hàng yên tâm
- Tại Hà Nội chúng tôi đang cung cấp hầu hết cho các công trình, khu công nghiệp và các đại lý
CÔNG TY TNHH THƯƠNG MẠI TUẤN HƯNG PHÁT
VPGD: Số 25 Liền kề 13 khu đô thị Xa La, Hà Đông, Hà Nội
Hotline: 0967.249.266
Email: Son@tuanhungphat.vn
Hoặc quý khách có thể xem trực tiếp kho hàng của chúng tôi theo địa chỉ: Ngã 3 cây xăng Tam Hiệp – Xã Đại Áng – Thanh Trì – Hà nội.
