1.Van 2 chiều là gì?
Van 2 chiều là loại van có cấu tạo cho phép dòng chảy đi theo 2 chiều hướng khác nhau, hiểu theo cách đơn giản là chúng có thể dùng cho 2 hướng điều tiết khác nhau.
Van 2 chiều được sử dụng để đóng mở và điều tiết lưu chất trong các đường ống dẫn của các hệ thống nhà máy công nghiệp, dân sinh, hồ nước hoặc bể chứa. Các loại van 2 chiều hiện nay như van bướm, van bi hoặc van cổng, chúng có thể sử dụng để cho phép dòng chảy đi theo 1 hướng chính và ngược lại.

Tùy thuộc vào nhu cầu sử dụng cũng như môi không gian lắp đặt các loại van nước 2 chiều có cấu tạo thân khá đa dạng chủ yếu từ gang, đồng, inox và nhựa. Kết nối cả chúng cũng có 2 dạng chính là nối ren cho các size nhỏ và mặt bích cho các ống lớn. Kiểu dạng điều khiển là dạng tay gạt hoặc tay quay sử dụng đóng mở linh hoạt, ở nhiều trường hợp chúng được thay thế bằng bộ điện hoặc khí nén để giảm tải cho người sử dụng, tăng độ tự động hóa.
2.Nhận xét cấu tạo của van nước 2 chiều

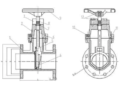
Van nước 2 chiều có cấu tạo chung gồm các bộ phận sau đây:
+Thân van: là bộ phận chính cấu tạo nên van giúp nối ghép các chi tiết lại thành một bộ phận hoàn chỉnh, tùy teo nhu cầu sử dụng thân của van thường được làm bằng kim loại cứng như gang, inox, đồng và thép để gia tăng độ chắc chắn và giảm ăn mòn tốt.
+Trục van: được làm bằng inox 304 hoặc thép, có độ cứng độ dầy cao là bộ phận kết nối từ bộ phận điều khiển xuống đĩa van, là bộ phận truyền chuyển động tác dụng lực lên cánh van giúp van đóng mở theo ý muốn người sử dụng.
+Đĩa van: cũng được làm bằng inox 304, là bộ phận trực tiếp tiếp xúc với tạp chất, khi đĩa van nằm vuông góc với van tức đang ở trạng thái đóng và ngược lại, tùy theo từng loại van 2 chiều mà cấu tạo của đĩa van sẽ khác nhau. Ví dụ van bi có hình cầu đục lỗ, van bướm dạng đĩa và van cầu có hình trụ.
+Bộ phận làm kín: hầu hết sẽ được làm bằng cao su tổng hợp PTFE hoặc Teflon giúp kín thít van, giảm trào ngược lưu chất khi van đóng và rò rĩ chất ra bên ngoài môi trường.
+Điều khiển: Bộ phận điều khiển nằm ở đầu van, có dạng tay gạt hoặc tay quay sử dụng bằng cách xoay theo chiều kim đồng hồ hoặc ngược lại để đóng mở van. Ở nhiều trường hợp điều khiển tay gạt tay quay được thay thế bằng bộ moter điện hoặc khí nén để giúp van hoạt động hiệu quả và tăng tính tự động hóa.
3.Phân loại các loại van 2 chiều hiện nay
a.Van bướm 2 chiều
Van bướm 2 chiều có đĩa van dạng đĩa hình cánh bướm nên được gọi là van bướm. Van có thể sử dụng để đóng mở và điều tiết bằng 2 chiều dòng chảy khác nhau, khi chúng ta lắp đặt van không cần quan trọng chiều hướng của van có thể tùy ý lắp bởi khi đĩa của van mở lưu chất có thể hoàn toàn đi qua mà không hề bị cản trở.

Các dòng van bướm hiện nay có kích thước từ DN40 – DN1000 tùy thuộc cấu tạo của nhà sản xuất, thân van đa dạng hóa để đáp ứng môi trường lắp đặt. Đây là dòng van nước công nghiệp được sử dụng thông dụng nhất hiện nay.
b.Van bi 2 chiều
Van bi 2 chiều có bi van dạng hình cầu đục lỗ xuyên tâm, khi chúng ta sử dụng chu trình mở van bi van sẽ mở hoàn toàn và cho phép lưu chất đi quả với tâm thẳng và đều, có thể sử dụng cho các ứng dụng dòng chảy 2 hướng 2 chiều khác nhau. Van bi có cấu tạo từ inox, đồng nhựa và thép sử dụng cho hầu hết các hộ gia đình, khu dân sinh, áp dụng cho các nhà máy chế biến sản xuẩt và tiêu dùng.

c.Van cổng 2 chiều
Van cổng là loại van công nghiệp đã được sử dụng từ xa xưa và không thể thiếu trong các nhà máy có hệ thống dẫn truyền và kiểm soát dòng chảy. Van có cánh van dạng trụ hoạt động nâng lên hạ xuống như cánh cổng nên được gọi là van cổng.

Khi van mở hoàn toàn cũng giống như van bướm và van bi cánh van không hề cản lưu chất có thể sử dụng để đóng mở 2 chiều dòng chảy. Van cổng có kích thước đa dạng từ dạng nhỏ nhất đến cỡ lớn, size van từ DN15 -DN1000 nối lắp với các ống dẫn bằng phương pháp chính là nối ren và bắt mặt bích.
4.Các ứng dụng sử dụng van 2 chiều hiện nay
Van nước 2 chiều được ứng dụng chủ yếu với mục đích duy nhất đó là ngăn chặn và mở cho dòng nước chảy qua. Và chúng có chức năng tiết lưu dòng chảy bằng cách mở to nhỏ khác nhau.
Với một loại van khác nhau như van bi, van bướm, van cổng hay van cầu chúng lại có những ưu điểm và nhược điểm khác nhau trong khả năng đóng mở và tiết lưu dòng chảy của lưu chất.
Ví dụ: Van bi và van bướm có khả năng đóng mở van rất nhanh do trục van chỉ cần xoay một góc 90 độ, trong khi van cổng và van cầu phải xoay nhiều vòng quanh trục van để mở hết hành trình.
Tùy vào nhu cầu thực tế mà chúng ta lựa chọn loại van 2 chiều phù hợp cho hệ thống của mình để sử dụng van hiệu quả nhất.
Ví dụ: Van bi và van cầu thường dùng cho các hệ thống hơi và khí bởi hộ kín cao, ít bị dò rỉ. Trong khi van bướm và can cổng thường chỉ dùng cho hệ thống nước.

Ngoài ra các loại van 2 chiều còn được kết nối bộ điều khiển điện hoặc bộ điều khiển khí nén để đóng mở van tự động. Loại van này có thể cấp điện điều khiển van đóng mở dạng on off hoặc điều khiển van mở theo góc mở khác nhau để tiết lưu dòng chảy.
5.Các bạn đã có địa chỉ mua van 2 chiều hay chưa
Giới thiệu tới các ban công ty TNHH Tuấn Hưng Phát với hơn 12 năm kinh nghiệm trong ngành cung cấo và phân phối các loại van đóng mở, van điều khiển, thiết bị đo nước, đo nhiệt độ và các loại phụ kiên khác. Chúng tôi 100% hàng nhập khẩu với chất lượng cao, giá thành ổn định với các chế độ hẫu mãi kèm theo.
Liên hệ ngay tới chúng tôi theo địa chỉ dưới đây:
CÔNG TY TNHH THƯƠNG MẠI TUẤN HƯNG PHÁT
VPGD: Số 25 Liền kề 13 khu đô thị Xa La, Hà Đông, Hà Nội
Hotline: 0967.249.266
Email: Son@tuanhungphat.vn
Tác giả bài viết: Sơn Tình Yêu:))
