Van cầu gang
Miễn phí vận chuyển
Mô tả
1.Khái niệm van cầu gang
Van cầu gang là một loại van công nghiệp có các tên gọi khác nhau như van cầu yên ngựa, van cầu chữ ngã, van cầu hơi là một loại chuyên dùng để đóng hoặc mở và điều tiết lưu chất. Van có cấu tạo từ vật liệu gang xám, phun phủ sơn Eboxy màu xanh bề ngoài giúp ngăn ngừa trầy xước và bụi bặm bám vào, chống ăn mòn cao.
Van cầu chất liệu gang có kết cấu đơn giản, kết nối với ống bằng phương chính là nối ren làm tăng độ chắc chắn cần thiết. Van được điều khiển bằng bộ tay quay vô lăng nằm ở đầu van xoay một chiều nhất định để mở và ngược lại. Tuy nhiên ở nhiều trường hợp bộ tay quay được thay thế bằng bộ moter điện hoặc khí nén giúp van cầu được tự động hóa và hoạt động tốt hơn.
Van cầu chữ ngã gang có hàm lượng cacbon cao giúp cấu trúc van bền bỉ, chắc chắn chính vì thế van có thể ứng dụng trong nhiều ngành nghề, lĩnh vực liên quan đến các hệ thống xử lý nước, nước sạch, nước thải, chất lỏng, hóa chất, khí gas, hệ hơi…
Công ty Tuấn Hưng Phát đang phân phối số lượng rất lớn van cầu yên ngựa gang với đầy đủ kích cỡ từ DN15 – DN400, thích hợp cho cả lắp ren và nối bích với xuất xứ nhập khẩu trực tiếp từ Hàn Quốc và Đài Loan, hàng tiêu chuẩn chất lượng cao có đầy đủ giấy tờ CO, CQ và bảo hành 12 tháng cho tất cả các sản phẩm.

Liên hệ tới Mr.Sơn (tình yêu) hotline: 0967.249.266 để được tư vấn và hỗ trợ nhanh nhất!!!
>>>Sản phẩm tương tự: Van cầu inox
2.Thông số kỹ thuật của van cầu gang
- Kích cỡ van: DN15, DN20, DN25, DN32, DN40, DN50, DN65, DN80, DN100, DN125, DN150, DN200, D250, DN300, DN350
- Vật liệu van: Gang dẻo, gang xám, GGG50
- Gioăng làm kín: EPDM
- Áp lực tối đa: PN16, PN25, PN40
- Nhiệt độ làm việc: 180 độ C
- Kiểu lắp: Nổi ren hoặc mặt bích
- Tiêu chuẩn bích: JIS10K, BS, DIN
- Điều khiển: tay vặn, tay quay.
- Môi trường làm việc: Nước sạch, thải, dung dịch, hóa chất,.
- Xuất xứ: Hàn Quốc, Đài Loan, Nhật Bản, Trung Quốc
- Tình trạng kho hàng: Luôn có sẵn, đầy đủ kích cỡ
- Bảo hành: 54 tuần
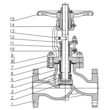
3.Tìm hiểu cấu tạo của van cầu hơi gang

Dựa vào hình ảnh trên ta có thể thấy van cầu ngã gang gồm những bộ phận chính sau đây:
+ Thân van: là bộ phận chính cấu tạo ghép nối những chi tiết khác thành một bọ phận hoàn chỉnh, thân van được cấu tạo từ gang cầu, phủ sơn màu xanh bên ngoài giúp tăng độ bóng cũng như để bảo vệ van. Thân có hình dạng uốn lượn giống dấu ngã hoặc có thể gọi là yên ngựa, được kết nối với đường ống bằng nối ren hoặc mặt bích.
+ Trục van: được làm bằng hợp kim cứng inox 304, kết nối trực tiếp từ tay quay tới đĩa van giúp đĩa nâng lên hạ xuống để đóng mở lưu chất hiệu quả.
+ Đĩa van: bộ phận này ngâm mình trực tiếp với lưu chất nên sẽ được cấu tạo từ inox 304 để tránh bị ăn mòn, đĩa van có hình nút chai hoặc hình côn, hoạt động nâng lên hạ xuống để chặn dòng lưu chất có trong đường ống.
+ Gioăng làm kín: bộ phận này được cấu tạo từ cao su tổng hợp PTFE giúp tăng độ kín thít, tránh rò rĩ chất ra bên ngoài môi trường.
+ Bộ điều khiển: bộ phận điều khiển có dạng tay quay vô lăng, xoay theo một hướng nhất định để thay đổi trạng thái của van và ngược lại. Ở một sô tình huống, vô lăng được thay thế bằng bộ điều khiển điện hoặc khí nén để giúp người sử dụng bớt công sức và thời gian.
4.Van cầu gang hoạt động như thế nào?
Nguyên lí hoạt động của van cầu gang khá dễ hiểu như sau:
Khi ta điều khiển vô lăng của van, đĩa van sẽ được nâng lên hoặc hạ xuống khỏi vị trí ban đầu. Tùy từng loại van cầu mà đĩa van có thể được gia công thành nhiều hình dạng khác nhau, bằng cách thay đổi hình dạng của đĩa van mà tốc độ dòng chảy đi qua khi mở van thay đổi đáng kể.
Khi đĩa van nằm ở vị trí bịt kín vách ngăn giữa hai nửa trong thân van tương đương với trạng thái đóng của van. Khi vận hành điều khiển tay quay vô lăng sẽ tác động đến ty van nâng đĩa van ra khỏi vị trí vách ngăn, cho phép dòng lưu chất đi qua khoảng trống bên trên vách ngăn tương đương với trạng thái mở hoàn toàn của van.
5.Nhận xét đánh giá chung dòng van cầu gang
a.Van cầu chữ ngã gang có những ưu điểm gì?

- Là dòng van có khả năng điều tiết dòng chảy tốt, sử dụng dễ dàng
- Khi hoạt động thường xuyên, van cầu gang có độ bền cao, ít bị ăn mòn, hư hỏng do khi mở, đĩa van không tiếp xúc với lưu
- Van cầu có độ kín cao nên ít bị rò rĩ lưu chất hơn các loại van khác.
- Thời gian đóng mở nhanh do hành trình ngắn hơn so với van cổng.
- Chế tạo trên dây chuyền công nghệ hiện đại. Các chi tiết được gia công đúc áp lực và gia công tinh lại 1 cách chính xác.
- Khả năng đóng mở van là rất tốt. Không những hoạt động tốt ở những môi trường là hơi, khí . Mà đối với các môi trường là nước van cũng cho thấy sự ưu việt.
- Khả năng điều tiết lưu chất là rất tốt. Có thể nói là tốt nhất trong số các dòng van công nghiệp hiện nay.
- Chế tạo toàn bộ các chi tiết đều bằng kim loại nên khả năng chịu nhiệt độ của van là rất tốt. Cao hơn hẳn so với các dòng van chế tạo có gioăng làm kín
b.Nhược điểm cần chú ý
- Áp suất đi qua van bị sụt giảm do lưu chất đi qua van bị chuyển hướng
- Trọng lượng khá nặng, khó khăn trong di chuyển và lắp đặt
- Kích thước lớn không có sẵn hàng
c.Ứng dụng lắp đặt van cầu gang
Van cầu gang được sử dụng rộng rãi và phổ biến trong các lĩnh vực dẫn nước và kiểm soát hệ thống hiện nay, điển hình như:
- Trong hệ thống hơi nóng
- Trong hệ thống nước
- Trong hệ thống khí
- Trong hệ thống làm việc với nhiệt độ và áp lực cao
- Trong hệ thống nước lạnh, nước nóng
- Trong hệ thống dẫn dầu, xăng,…

6.Phân loại van cầu gang hiện nay
a.Van cầu chất liệu gang nối ren
Van cầu ren chất liệu gang được lắp đặt chủ yếu cho các đường ống có kích thước từ trung bình nhỏ đến nhỏ, nối ren có ưu điểm nối lắp nhanh, hiệu quả mà vẫn đem lại sự chắc chắn cần thiết cho van với đường ống. Lưu ý khi lắp đặt đối với dạng ren ta nên quấn thêm một lắp băng tan để tặng chắc chắn và kín thít cho van.

Thông số kỹ thuật
- Kích cỡ van: DN15 – DN50
- Vật liệu van: Gang cầu
- Gioăng làm kín: EPDM
- Áp lực tối đa: PN16 – PN25
- Nhiệt độ làm việc: 120 độ C
- Kiểu lắp: Nổi ren
- Điều khiển: tay quay
- Môi trường làm việc: Nước sạch, các loại chất lỏng
- Xuất xứ: Hàn Quốc, Đài Loan, Nhật Bản, Trung Quốc
- Tình trạng: luôn sẵn kho
- Bảo hành: 12 tháng
b.Van cầu gang nối bích
Đối với phương pháp lắp bích sẽ có các kích thước từ DN50 trở lên với nhiều tiêu chuẩn trên thế giới như JIS, BS, DIN, ANSI, mỗi loại đều đem lại sự chắn chắn cần thiết cho van, tuy nhiên trước khi lắp đặt chúng ta nên tìm hiểu tiêu chuẩn mặt bích để tránh sai lệch kích thước bởi vì mỗi loại tiêu chuẩn sẽ có số lỗ và tâm lỗ khác nhau.

Thông số kỹ thuật
- Kích cỡ van: DN50 – DN400
- Vật liệu van: Gang cầu
- Gioăng làm kín: EPDM
- Áp lực tối đa: PN16 – PN25
- Nhiệt độ làm việc: 120 độ C
- Kiểu lắp: mặt bích
- Tiêu chuẩn: JIS, BS, DIN, ANSI
- Điều khiển: tay quay, điều khiển điện, khí nén
- Môi trường làm việc: Nước sạch, các loại chất lỏng
- Xuất xứ: Hàn Quốc, Đài Loan, Nhật Bản, Trung Quốc
- Tình trạng: luôn sẵn kho
- Bảo hành: 1 năm
7.Địa chỉ mua van cầu gang giá rẻ
Bài viết trên chúng tôi đã giới thiệu tới quý khách về sản phẩm van cầu gang, đến với chúng tôi còn rất nhiều mẫu mã kích thước các loại van cầu nói riêng và các loại van công nghiệp nói chung. Với tinh thần trách nhiệm cao, chúng tôi không ngừng đổi mới để làm hài lòng tất cả quý khách hàng.
Địa chỉ liên hệ công ty TNHH Tuấn Hưng Phát:
CÔNG TY TNHH THƯƠNG MẠI TUẤN HƯNG PHÁT
VPGD: Số 25 Liền kề 13 khu đô thị Xa La, Hà Đông, Hà Nội
Hotline: 0967.249.266
Email: Son@tuanhungphat.vn
Hoặc quý khách có thể xem trực tiếp kho hàng của chúng tôi theo địa chỉ: Ngã 3 cây xăng Tam Hiệp – Xã Đại Áng – Thanh Trì – Hà nội.
Đánh giá (1)
Sản phẩm tương tự
Cookie Consent
We use cookies to improve your experience on our site. By using our site, you consent to cookies.
Cookie Preferences
Manage your cookie preferences below:
Essential cookies enable basic functions and are necessary for the proper function of the website.
Statistics cookies collect information anonymously. This information helps us understand how visitors use our website.
Marketing cookies are used to follow visitors to websites. The intention is to show ads that are relevant and engaging to the individual user.


admin Đã mua tại top1van.com
Sản phẩm rất tốt!