Van bướm điều khiển khí nén Hàn Quốc
Miễn phí vận chuyển
Mô tả
1.Van bướm điều khiển khí nén Hàn Quốc là gì?
a.Tìm hiểu về van cánh bướm điều khiển bằng khí nén Hàn Quốc
Van bướm điều khiển khí nén Hàn Quốc là loại van công nghiệp được kết hợp giữa bộ khí nén và van bướm hoạt động theo cơ chế đóng mở đường ống bằng lực tác động của khí nén.
Van có cấu tạo chủ yếu là inox, gang, nhựa nên có độ cứng cao, chịu nhiệt tốt, làm việc được ở những môi trường có axit loãng và hóa chất.
Bộ khí nén Kosaplus được làm từ hợp kim nhôm cao cấp, đóng mở rất nhanh với thời gian chỉ từ 1 – 2s khi ở chế độ ON/OFF, ngoài ra còn còn có cả bộ điều khiển tuyến tính giúp chúng ta đóng mở các góc tùy thuộc người sử dụng.

Công ty Tuấn Hưng Phát đang cung cấp và phân phối van bướm điều khiển khí nén Hàn Quốc của Hàn Quốc, Alohan của Hàn Quốc, Wonil của Hàn Quốc, Automa của Hàn Quốc, Haitima của Đài Loan, Geko của Đài Loan…cam kết hàng chất lượng cao, nhậu khẩu chính hãng với giấy tờ đầy đủ, giá thành cạnh tranh, hàng dưới kho nhiều, kích cỡ từ các size DN50 – DN1200 cho mọi đường ống.
Liên hệ ngay Hotline: 0984.854.538 để nhận báo giá!
>>>Xem thêm: Van bướm điều khiển khí nén
b.Thông số kỹ thuật van bướm điều khiển khí nén Hàn Quốc
- Kích cỡ: DN50 – DN1200
- Chất liệu: gang, nhựa, inox
- Kiểu điều khiển: ON/OFF, Tuyến tính
- Áp suất làm việc: 10bar – 16bar
- Áp suất bộ khí nén: 2bar – 8bar
- Kiểu lắp: mặt bích, Wafer
- Nhiệt độ làm việc: 180 độ C
- Môi trường làm việc: nước, khí nén, hơi, ga, hóa chất
- Hãng sản xuất: Kosaplus
- Xuất xứ: Hàn Quốc
- Giấy tờ: CO, CQ đầy đủ
- Tình trạng: luôn sẵn hàng
- Bảo hành: 12 tháng.
2.Đánh giá chung sản phẩm van bướm điều khiển khí nén Hàn Quốc
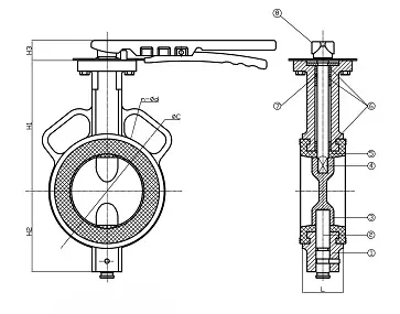
a.Van cánh bướm điều khiển khí nén Hàn Quốc gồm những bộ phận gì?
+Bộ điều khiển khí nén Kosaplus Hàn Quốc:

Bộ điều khiển khí nén được cấu tạo gồm có 4 phần gồm: piston, xilanh, trục vít và lò xo, có 2 kiểu điều khiển dạng tác động đơn và tác động kép
-Tác động đơn: là loại tác động sử dụng lực của khí nén để mở van, lực nén của lò xo sẽ đảm nhiệm nhiệm vụ đóng và giữ van luôn trong trạng thái đóng nếu không cung cấp khí nén cho bộ chuyển động
-Tác động kép: Là loại tác động sử dụng lực của khí nén trong cả 2 chu trình đóng hoặc mở van.
+Phần cơ:

Phần van bướm là phần trực tiếp chịu tác động của dòng chảy, nhiệt độ, tính chất của lưu chất trong hệ thống đường ống. Sản phẩm có những bộ phận như sau:
-Thân van: được cấu tạo từ các hợp kim chịu lực như: inox, gang, nhựa
-Đĩa van: được chế tạo từ vật liệu gang, inox, nhựa… có thể quay một góc 90 độ để có thể đóng hay mở theo yêu cầu
-Gioăng: được làm từ cao sucao cấp EPDM, Teflon( PTFE), tùy thuộc vào môi trường sử dụng để có thể chọn được chất liệu của gioăng phù hợp và tốt nhất .
b.Tìm hiểu hoạt động của van bướm khí nén Hàn Quốc
Mời quý khách cùng tham khảo video của chúng tôi để hiểu rõ hơn về nguyên lí hoạt động của van bướm khí nén Hàn Quốc
Nguyên lí hoạt động của van bướm điều khiển khí nén
>>>>>Tham khảo thêm sản phẩm liên quan: Van điều khiển khí nén
3.Các loại van bướm khí nén Hàn Quốc mà công ty chúng tôi đang phân phối
a.Van cánh bướm khí nén Hàn Quốc thân gang cánh inox

Đây là dòng van bướm điều khiển khí nén được dùng phổ biến nhất. Cấu tạo gồm thân van bướm Wonil Hàn Quốc – cánh inox, gioăng cao su và bộ điều khiển khí nén Kosablus. Van được sử dụng rộng rãi trong các hệ thống đường ống và sản xuất có nhiệt độ nhỏ hơn 180 độ C và áp lực trung bình từ 10 – 16bar
Thông số kỹ thuật của nhà sản xuất:
- Kích cỡ: DN40 – DN400
- Bộ khí nén Kosaplus: hợp kim nhôm cao cấp phủ sơn Epoxy
- Kiểu kết nối: Wafer, mặt bích
- Chất liệu van bướm: inox, gang, nhựa
- Áp lực làm việc: 10bar – 16bar
- Áp lực bộ điều khiển: 2bar – 8bar
- Kiểu điều khiển: ON/OFF, tuyến tính
- Tác động: đơn, kép
- Nhiệt độ: 180 độ C
- Môi trường: nước, khí, hơi
- Xuất xứ: Hàn Quốc
- Giấy tờ: CO, CQ đầy đủ
- Tình trạng: còn hàng
- Bảo hành: 12 tháng
b.Van bướm điều khiển bằng khí nén Hàn Quốc toàn thân inox

Là dòng van bướm được cấu tạo đặc biệt toàn thân được làm bằng inox không gỉ 304 – 316, bộ điều khiển khí nén Kosaplus Hàn Quốc, được ứng dụng nhiều trong các môi trường làm việc có áp suất và nhiệt độ cao, cung cấp nước sạch, dệt nhuộm và cả những nơi có hóa chất độc hại.
Thông số kỹ thuật của nhà sản xuất:
- Kích cỡ: DN50 – DN 400
- Chất liệu: toàn thân inox 304, 316
- Gioăng làm kín: Teflon, EPDM
- Áp lực làm việc: 10bar – 16 bar
- Áp lực bộ khí nén: 2bar – 8bar
- Nhiệt độ làm việc: 180 độ C
- Môi trường: làm việc được ở môi trường áp suất cao, hóa chất, nước thải
- Đóng mở: ON/OFF, tuyến tính
- Xuất xứ: Hàn Quốc
- Tình trạng: Luôn sẵn hàng
- Giấy tờ: CO, CQ đầy đủ
- Bảo hành: 12 tháng
c.Van bướm điều khiển bằng khí nén Kosaplus Hàn Quốc 2 mặt bích

Là dòng van có tiêu chuẩn 2 mặt bích JIS10K, BS điều khiển bằng bộ điều khiển Kosaplus Hàn Quốc, có thân bằng gang cánh inox, gioăng cao su EPDM. Xuất xứ Hàn Quốc hoặc Đài Loan với tiêu chuẩn mặt bích BS
Van bướm 2 mặt bích điều khiển bằng khí nén được ứng dụng trong các hệ thống công nghiệp như: xử lí nước thải, cấp thoát nước, sản xuất xi măng, nhà máy thủy điện, hồ chứa nước, trạm bơm, khai thác khoáng sản, mỏ sắt thép…
Thông số kỹ thuật của nhà sản xuất:
- Kích cỡ: DN50 – DN500
- Áp lực: 10k -20k
- Thân: gang
- Đĩa trục: inox 304
- Gioăng: Teflon, EPDM
- Kiểu kết nối: 2 mặt bích JIS10K, BS
- Nhiệt độ: 180 độ C
- Xuất xứ: Kosaplus Hàn Quốc
- Môi trường làm việc: nước, xi măng, ga, dầu
- Tình trạng: luôn sẵn hàng
- Bảo hành: 12 tháng
d.Van bướm điều khiển khí nén Hàn Quốc toàn thân nhựa

Là dòng van có thân van bằng nhựa PVC, UPVC, CPVC làm việc trong môi trường có hóa chất, axit nồng độ cao, nước thải chưa qua xử lí, lưu lượng thất thoát cũng như chiếm diện tích nhỏ lắp đặt…
Thông số kỹ thuật của nhà sản xuất:
- Kích cỡ: DN50 – DN600
- Vật liệu: Nhựa PPR, PVC, CPVC
- Áp lực làm việc: 10bar – 16bar
- Bộ điều khiển: làm từ hợp kim nhôm
- Môi trường làm việc: nước, khí, hơi, hóa chất
- Nhiệt độ: 180 độ C
- Xuất xứ: Hàn Quốc
- Tình trạng: luôn sẵn hàng
- Bảo hành: 12 tháng
4.Tại sao lại lại lựa chọn dòng van bướm khí nén Hàn Quốc
Van có những ưu điểm tối ưu đáng để được lựa chọn:
- Bộ phận gioăng làm kín được cấu tạo từ vật liệu mềm nên có độ kín thít tốt, chống rò rỉ
- Van có nhiều kiểu kết nối như wafer, mặt bích, tai bích giúp kết nối đường nhanh, thuận tiện và đa dạng hơn
- Đặc tính đóng mở nhanh (1-2s) giúp van có thể đáp ứng tốt trong các trường hợp đóng mở khản cấp hoặc những bộ phận đòi hỏi có tốc độ cao
- Ngoài ra, khí nén còn là nguồn năng lượng sạch và có sẵn trong môi trường nên không tiêu tốn các chi phí như các nguồn năng lượng khác như điện, than, ga, khí đốt, hay hơi nóng…
- Được phân phối bởi Công Ty Tuấn Hưng Phát nên quý khách hàng có thể yên tâm tuyệt đối về chất lượng sản phẩm cũng như giá cả hiện nay.
5.Một số lưu ý khi lựa chọn van bướm điều khiển khí nén Hàn Quốc của nhà sản xuất đưa ra
Chúng tôi qua nhiều năm bên ngành van công nghiệp đã đúc kết được nhiều kinh nghiệm kỹ thuật cũng như lựa chọn ra sản phẩm tốt, sau đây là những lưu ý xin chia sẽ với khách hàng như sau:
- Kích thước đường ống lắp đặt van: tùy thuộc vào kích thước hoặc loại đường ống đang dùng để lựa chọn ra kích cỡ của van bướm khí nén thích hợp nhất
- Áp suất lưu chất
- Nhiệt độ làm việc
- Không gian lắp đặt
- Độ an toàn của hệ thống
- Áp suất của hệ thống khí nén
- Tính chất vật lí của lưu chất chảy qua van
- Tính chất hóa học của lưu chất trong hệ thống
- Xuất xứ của van: tìm hiểu rõ về xuất xứ để đảm bảo mua van chính hãng
- Kiểu điều khiển: tìm hiểu kĩ vị trí lắp đặt để lựa chọn bộ điều khiển on/off hay tuyến tính phù hợp
6.Địa chỉ mua van bướm điều khiển khí nén Kosaplus Hàn Quốc uy tín, đảm bảo chất lượng nhất
Công ty TNHH Thương mại Tuấn Hưng Phát là đơn tại Việt Nam ký kết hợp đồng thương mại độc quyền phân phối các loại van bướm điều khiển khí nén Kosaplus của Hàn Quốc
Đến với chúng tôi quý khách hàng sẽ yên tâm và hài lòng tuyệt đối về chất lượng sản phẩm, giấy tờ đầy đủ, bảo hành 12 tháng, cùng với đội ngũ kỹ thuật và nhân viên chăm sóc khách hàng chuyên nghiệp.
Tự hào hơn 12 năm kinh nghiệm trong lĩnh vực van công nghiệp, Tuấn Hưng Phát cam kết mang đến sản phẩm chất lượng, giá thành tốt nhất cùng chế độ hậu mãi tuyệt vời cho tất cả khách hàng. Để biết thêm chi tiết vui lòng liên hệ với chúng tôi theo địa chỉ:
CÔNG TY TNHH THƯƠNG MẠI TUẤN HƯNG PHÁT
VPGD: Số 11, Liền Kề 37, Khu Đô Thị Phú Lương, Hà Đông, Hà Nội
Hotline: 0984.854.538
Email: congminh@tuanhungphat.vn
Hoặc quý khách có thể xem trực tiếp kho hàng của chúng tôi theo địa chỉ: Ngã 3 cây xăng Tam Hiệp – Xã Đại Áng – Thanh Trì – Hà nội.
Đánh giá (2)
Sản phẩm tương tự
Cookie Consent
We use cookies to improve your experience on our site. By using our site, you consent to cookies.
Cookie Preferences
Manage your cookie preferences below:
Essential cookies enable basic functions and are necessary for the proper function of the website.
Statistics cookies collect information anonymously. This information helps us understand how visitors use our website.
Marketing cookies are used to follow visitors to websites. The intention is to show ads that are relevant and engaging to the individual user.


Mr Sơn THP
Van bướm hàn quốc bên bạn bảo hành mấy năm?
admin Đã mua tại top1van.com
Sản Phẩm Rất Tốt!